Video Technology
Rhythmic 8
  squarewave keyboard with programmable analogue rhythm, pitch bend & simple synth

This rare midsize keyboard from 1987 (bottom type sticker) was apparently a predecessor of the Rhythmic 10. Despite it is technically rather simple, it has a musically well designed user interface that permits many live play tricks. There is a wide range pitchbender and very responsive drumpads. The main voice has nicely warm analogue filtered squarewave timbres and can be layered with the similar "synthesizer" voice. There are 10 rhythms with fill-in, made from 4 genuine analogue percussion sounds those knock strangely dull and home- organ- like. The simple realtime drum machine (custom drummer) has no memory, but uses 4 slide switches to select the patterns of the 4 percussion tracks (like Casio's Super Drums), which can be used for tekkno.

Beside the 10 OBS preset sounds there is the primitive "synthesizer", which combines 5 preset waveforms with 4 preset envelopes and can be layered with any preset sound to make the sounds more complex. Nice is that the accompaniment has each 3 pattern variations and each 3 timbres for bass and chord. The fingered chord mode works as manual chord with rhythm off.  The volume of rhythm, chord and main voice can be adjusted independently, although their range is partly too narrow. There is also a primitive rotary speaker simulator, which is more a tremolo that simply pans the sound left & right (3 speeds & off). The instrument generally sounds a little dull, but nicely warm and cheesy. The main voice has strong similarities with Testron CL-60910, but is more versatile due to the combinable vibrato and rotary speaker mode and the synth layer feature. A bit annoying is the low polyphony of maximum 4 notes (due to the classic MC-3 sound IC), that is halved by layer and chord mode. The analogue pitchbend wheel has an impressively wide slide range of 10 full notes, however this also reduces the tuning stability due to its not perfectly exact working centring mechanism.

(Note: This keyboard sounds nice, but don't buy one of these so far your only intention is to get a keyboard with faithfully imitated natural instrument sounds. Remember, this is a squarewave instrument and though many of its sounds sound not even remotely like what is written on its buttons, though bought with wrong expectation it may disappoint you.)

This keyboard was also released as Saisho - Music Maker MK 800.

main features:


eastereggs:

notes:

Odd is that the 3 horizontal volume sliders work wrongways, i.e. sound turns louder by moving them to the left. Unfortunately chord and bass volume can not be adjusted independently, and also the rhythm tends to be a bit too quiet in relation to the main voice. Moving any switches those affect preset sound timbres or envelopes (including bass or chord voice variation, synthesizer or chord mode etc.) retriggers during each step the envelope of held main voice notes; this can disturb live performance, but can be also used as a sound effect. Nowadays the company Video Technology is better known as VTech, which is a well known manufacturer of educational computers for children.

The preset sounds are made from squarewave variants and sawtooth with simple digital volume envelopes and a dose of zipper noise; they strongly resemble Letron MC-3, although here they sound noticeable duller. As usual with squarewave based instrument, they have a characteristic buzzy bass range. The "organ" is a simple squarewave toot with clicking attack, end click and no sustain. The "music box" is made from plain squarewave with decay envelope. "oboe" has mild attack with a harsher timbre, that rather resembles a reed organ. "trumpet" is the same with duller waveform (like "organ") and does not sound at all as suggested; "accordion" the same like "trumpet" in only slightly louder and fatter. Also "violin" employs this envelope with a remotely realistic timbre. The "clarinet" uses the same envelope with plain squarewave, which sounds fairly realistic. The "guitar" employs a linear 1 second decay envelope with percussive attack, grainy zipper noise and sudden end click; it also grows a bit duller during decay, but resembles rather a fat clavinet sound than any guitar. The "harpsichord" uses the same envelope with a thin an bright waveform, which sounds fairly realistic. Also "piano" uses the same envelope with a duller waveform (same like "trumpet"). When sustain is switched off, all sounds decay fast after releasing the key, and the sound presets itself also contain neither vibrato nor tremolo. The sustain button adds 1 second sustain; with decaying preset sounds this corresponds to held notes. An unusual behaviour is that the sustain of monophonic played notes stays monophonic and thus is truncated by the next played monophonic note, but the sustain of chords (or other polyphonic note combinations) stays audible when new notes are played. I am not sure if this is a bug or feature - at least it permits interesting play tricks. The vibrato button adds a weak 5Hz square tremolo with unequal pulse width, which fluctuates in a strange rhythm. Very odd is that it is apparently part of the volume envelope of the individual channels, thus when multiple notes are held, the phasing of their tremolo depends on the order and timing with that the keys were pressed, which makes the sound vivid in an interesting way. The tremolo stops after key release, i.e. sustain contains no tremolo, and unlike volume envelope duration, the tremolo speed is not changed by pitchbend (thus I conclude that it is derived from the rhythm tempo generator). Interesting for play tricks is that the OBS preset sound sliders and "vibrato"/ "sustain" buttons can also be pressed while keys are held down without stopping their notes. By rhythmically moving these switches, many arpeggiator- like timbre changes can be created, thus they can be regarded as a realtime sound control, however they don't feel as robust as the similar sliders on Yamaha PSS-160/ PSS-260. Moving any switches those affect preset sound timbres or envelopes (including bass or chord voice variation, synthesizer or chord mode etc.) retriggers during each step the envelope of held main voice notes.

Beside the OBS preset sounds there is the "voice synthesizer" section, which is simply a 5 step "wave form" and a 4 step "envelope" slide switch those combine 5 preset timbres with 4 preset envelopes. The settings have only diagram icons instead of names (much like Thompsonic TS-33), but the waveforms correspond to {"oboe", quiet "organ", "clarinet", loud "organ", "violin"} and the envelopes to {"organ", "percussive organ", "violin", "piano"}. The "percussive organ" envelope is not used by preset sounds; it is like "organ" but decays a bit lower after its percussive attack before it holds. The "organ" waveform exists in a louder and a quieter version; the louder one corresponds to "trumpet". Unlike with Rhythmic 10, you can layer the synthesizer voice with any preset sound. Strange is only, that the timbre changes by switching "wave form" or preset sound back and forward or the layer mode off and on; apparently the phase between the preset and synth subvoice changes with every move of the switch. At least sustain and vibrato button work here like expected. The vibrato produces here an interesting chorus tremolo effect, that reminds to a bee swarm. As a realtime sound effect you can also rhythmically play with the "wave form" and "envelope" switch with held notes; this makes great gritty timbre changes and the digital switches even respond fairly fast. The sound is generated mono, but all sounds beside percussion are routed through an analogue stereo auto- panning effect (primitive rotary speaker simulator), which can be set to 3 different speeds (2Hz, 4Hz, 6Hz) and off. But the effect is quite weak and nothing spectacular.

The analogue percussion sounds unusually dull and always a little broken. The base is a dull knock and the hihat is made from white noise and so quiet that with accompaniment it is often barely audible. The snare is just a popping variation of it. Only the conga is a (fairly dull) melodic drum. Compared with the Rhythmic 10 they sound even dryer and colourless. The rhythm tempo can be adjusted between only medium slow and ridiculously fast. The rhythms have a fill-in, which mutes the automatic accompaniment during the fill-in pattern. The "march" rhythm sounds like the rhythm from the TV docu series "Karambolage" on Arte. Like with Letron MC-3, the accompaniment responds a little slow, but fortunately also accepts wild disharmonic note combinations and not only what establishment considers chords, and you can select between each 3 different bass and chord accompaniment variation patterns and between 3 bass and 3 chord preset sounds, which makes it nicely versatile. Unlike Rhythmic 10, there is unfortunately neither manual bass nor key split mode combinable with rhythm.

Very unique is the way the custom drummer (programmable drum machine) of this keyboard works. It has no memory, but simply uses 4 slide switches to select the patterns of the 4 percussion tracks. The concept resembles the Super Drums of old Casio keyboards (see e.g. Casio MT-500), however here the sliders don't switch among complex pre-programmed rhythm pattern variations, but simply switch the 4 analogue percussion sounds directly to different metronome speeds divided from the actual main tempo {1/16, 1/8 B, 1/8 A, 1/4, off}, which sounds very archaic and rather feels like an antique digital transistor circuit from the era before CPUs were invented. The setting "1/8 A"  and "1/8 B" differ in the phase to get either on-beat or off-beat, but you can not really program own complex rhythms with it - it feels more like shifting gears in a mechanism that beats drums, or the odd fill-ins of Casio MT-40. Although it is not very versatile, it behaves nicely intuitive and works well for tekkno. Great is that with the "program" button you can switch at any time back and forward between the currently selected preset rhythm and the custom drummer pattern; the accompaniment and fill-in always employs the pattern of the selected preset rhythm.
 

hardware details

The VTech Rhythmic 8 is based on the CPU "VTEL, 27-0731-00" with sound IC Yamaha YM2163. The main PCB contains beside 2 large ICs relatively much discrete analogue stuff for percussion and timbre filters. A bit strange is that the percussion makes no use of the given semi- metallic digital cymbal waveform of the YM2163, but uses plain transistor noise instead. I assume this was done to implement the pitchbend wheel by modulating its clock frequency, which otherwise would have changed the hihat pitch also. Also the very responsive rubber drumpads may be directly connected to the analogue percussion circuit, because they have an unusually high timing resolution and are not used for other user interface functions like rhythm programming.
(Someone e-mailed me that his dead Rhythmic 8 specimen had CPU= "Vtel27-0731 000 641404256888744" and sound IC= "Yamaha YM2163, 78 05 83", thus the last digits seem to be serial numbers.) 

There are trimmers for analogue tempo control and tuning on the PCB. 

pinout YM2163 (DSG)

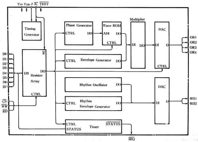
The Digital Sound Generator "Yamaha YM2163" (24 pin DIL) is a 4 note polyphonic digital squarewave sound IC with fixed linear ADSR envelopes (does a little zipper noise and end click) and separate blip percussion using 2 additional percussion waveforms (semi-metallic & shift-register feedback noise hiss). 

(layout in Yamaha YM2163 datasheet)

Main voice (orchestra) and percussion generator are quite independent with each a separate DAC, that is time-multiplexed among polyphony channels. The output is then split into individual analogue audio outputs (4 for main voice, 2 for rhythm), which can be used for different external filtering and separate analogue volume controls. 

I examined the DSG of Testron CL-60910 and Letron MC-3 with an analogue oscilloscope and identified the following: Each polyphony channel is at any time output only through one pin as open-collector current (needs pulldown resistor). The 4 polyphony channels are time-multiplexed analogue signals (an absent or mute channel stays zero) with high resistance sections in between. So the output looks like a comb-like HF pattern that is AM modulated with the audio signal. With monophonic sounds the "envelope" exactly corresponds the audio, but increasing polyphony does not increase the output voltage but the density of the tines (representing channels  "1, 2, 3, 4, 1, 2, 3, 4,..." and so on) with fewer empty gaps in between. While it may look complicated to extract sound from this, like with PWM a simple capacitor (about 47..100nF) against GND is sufficient to demodulate this into an audio signal. The reason for this strange time slicing was likely to avoid additional higher DAC bit hardware for polyphony, because the summing is simply done in the capacitor, so complicated DAC extensions and digital additions could be omitted. Theoretically another benefit is that (without capacitor) the polyphony channels can be separated by external sample & hold networks, but this IC already has 4 separate audio outputs anyway. The grainy digital main voice waveforms seem to be each 32 steps high and long (seen with sawtooth wave). The blip percussion envelopes are made from 2 linear sections (first steep, then shallower). Percussion channels are time-multiplexed too, and the metallic and hiss timbres occupy multiple internal subvoices. (It would be interesting to demux them to identify what their basic waveforms are.)

According to the datasheet, the main voice sounds are produced by a phase generator addressing (with correct frequency) a "wave rom", which output is multiplied with the output of an envelope generator and the result output through the DAC. According to waveform drawings, squarewaves can have differently high halves (but no multipulses) and there is also a sawtooth wave (31 steps high = 5 bit DAC, seen on oscilloscope in Testron). The rhythm oscillator has no "wave rom". All channels seem to have own digital volume controls. Technically this sound generator can be classified as "stairwave", because the step count in waveforms does not change with pitch or envelope amplitude (although it is much simpler than what Casio did in Consonant-Vowel sound ICs). The 4 "orchestra" (non-percussion) sound outputs can be assigned to any combinations of the 4 polyphony channels (i.e. a channel can have multiple outputs and vice versa) to route them through external analogue circuits like channel volume controls, filters or panning. (Apparently many keyboards use outputs OR1 and OR2 for melody voice, OR3 for chord and OR4 for bass.) Beside sound, the YM2163 also contains a 14 bit interrupt timer.
 
Because the waveforms are very geometric, I suspect that to save chip space, the so-called "wave rom" is only a tiny piece of gate logic. So e.g. the rising sawtooth ("St") simply outputs the address number directly to the DAC, plain squarewave ("Cl") passes only the highest bit (MSB) and the rest are some logic combinations of the input bits. Linear envelopes are made from counters and need not curve lookup table rom either. Also shift registers for percussion noise aren't big, so in total these are perhaps some 1000 transistors.

But in practise the demodulation into analogue audio through an integrating capacitor is not as simple as it seems. So while the sawtooth waveform at an open pin looks on oscilloscope like perfect stairs of equal step height, in real instruments the waveform distorts when burdened by capacitors and resistors of the connected amplifier. So there are not only HF residues reaching the amp, but the upper and lower halve of the sawtooth get vertically pulled apart, causing a larger step of fixed height around the zero line of the waveform. The result looks and sounds like when to the intended waveform a plain squarewave (ratio 1:1, same frequency) of fixed amplitude is added (independent from the actual volume envelope level), which stays there until the tone generator switches off at decay end. The reason for this may be that either the DAC output impedance is uneven (much higher around its zero line) or that the input impedance of the power amp IC varies through its feedback loop and so sends the DC voltage from class B transition distortion back to the input, which burdens the sound IC unevenly. Nevertheless it makes bright tones grow duller during decay and end as a weak plain squarewave toot that stops with a soft click, causing a distinct sound.

Everything seems to be optimized for cheap music keyboards. It has only 5 instrumental waveforms {St, Or, Cl, Pf, Hc} combinable with 4 fixed ADSR envelopes, thus a keyboard can not have more than 20 different preset sounds (or 40 together with the sustain flag). The waveform "Or" is even the same like "Pf" with only lower volume; I expect that "Or" was intended for envelopes 1 and 3 to compensate their louder ADSR "sustain" phase. Envelope duration does not change with note pitch. (Unlike Casio's Consonant-Vowel synthesis, envelope steps can happen at any position within waveform cycles.) There is no vibrato LFO, but for each channel the pitch value (divide ratio for master clock = 10 bit frequency + 2 bit octave) can be modulated by the CPU, which may be also useable to implement digital fine tuning or even pitchbend. For rhythm there are only 5 entirely hardwired preset blip percussion sounds {BD, HC, SDN, HHO, HHD} of those only the envelope can be disabled to route them through external analogue envelope circuits. The lack of editable parameters was likely done to ease setup through cheap microcontrollers with very little memory. So despite some similarities with the PSG "AY-3-8910" (variants used in many home computers like Amstrad CPC, Atari ST and MSX) it is not designed to be particularly programmable, which may be the reason that it is barely documented (thanks Saien Mado for info). The specs may suck, but it can create nicely warm squarewave sound and should not fall into oblivion.

It is hard to find info about this, but I finally found the Japanese language datasheet of YM2163, which has pinout and some readable English words and abbreviations. The name "DSG" apparently means "Digital Sound Generator". The percussion and sound abbreviations seem to be:
 
orchestra timbre   waveform
Hc harpsichord imitates hipass-filtered plain squarewave (spike down, spike up)
Pf pianoforte asymmetric squarewave (4 equally wide blocks of height -1, +1/3, 0, 0)
CL clarinet plain squarewave
Or organ same like "Pf" with 2/3 amplitude
St string rising sawtooth wave
percussion    
BD base drum plain squarewave
HC high conga plain squarewave
SDN snare drum hiss (shiftregister feedback noise)
HHO hihat open metallic
HHD hihat down metallic

About the YM2163 I found this on the UndocumentedSoundChips website:

Description

Digital Sound Generator (DSG)
Distorted square wave generator and envelope generator implemented in.

Spec
  • 5V single power source N channel E/D MOS
  • TTL compatible
  • 8/16 bit MPU capable
  • Preset 5 waves for 4 melody ch, 4 waves for 4 rhythm ch
  • 7bit internal D/A converter
  • 14bit interrupt timer
  • 4 individual output port for melody ch.
  • 2 individual output port for rhythm ch.
  • Strange is that Yamaha itself did not use the YM2163 in own keyboards at all, but only the very similar YM2142 (GE8) for cheap PortaSounds. The YM2142 sounds the same but is not identical and pinout differs (has e.g. additional tempo pot control). Also the sound generators of Yamaha HS-200, HS-500 and HS-501 have exactly these 5 main voices (waveforms seen in service manual) and so may be the genuine origin of this sound hardware.

    The YM2163 likely appeared first in Vtech Rhythmic 2 from 1985 and was mainly used in cheap Chinese no-name keyboards like Testron CL-60910, ABA-88 and as the most serious highend application Vtech Rhythmic 8. Beside the genuine Yamaha part many clones were made. So the most (in-)famous instrument based on it became the MC-3 by Medeli, of that 90 millions in many case designs were spread around the world - with a sound IC clone relabelled "DSG-MC3". The MC-33 hardware class (see Thompsonic TS-33) even got 2 of them to double polyphony or layer them for thicker sound, and the Letron MC-38 used its CPU power to squeeze more complex C64-like effect sounds out of it (with layering, grainy pitch envelopes or mandolin ring), which of course does not overcome general limitations.

    This pinout is based on the Japanese datasheet of the "Yamaha YM2163 - Digital Sound Generator (DSG)" and my analysis of the Letron MC-3.
     
    pin name purpose
    1 VSS ground 0V
    2 OR1 orchestra audio out (in MC-3: main voice 1)
    3 OR2  orchestra audio out (in MC-3: main voice 2)
    4 OR3 orchestra audio out (in MC-3: chord)
    5 OR4 orchestra audio out (in MC-3: bass)
    6 /IC reset
    7 (NC) (not used)
    8 D0  data bus (trigger base)
    9 D1 data bus (trigger conga)
    10 D2  data bus (trigger close hihat)
    11 D3 data bus (trigger open hihat)
    12 D4 data bus
    13 D5 data bus
    14 D6 data bus
    15 D7 data bus
    16 /TEST  (not used)
    17 /CS chip select
    18 /WR write in (wired to 17)
    19 /RD read in (wired to resistor)
    20 /IRQ interrupt out (in MC3: not used)
    21 RH1 rhythm audio out (drums)
    22 RH2 rhythm audio out (hihats+snare)
    23 +Vs supply voltage +5V
    24 ø clock in (1MHz)

    clones

    Despite its cheapish nature, several clones of this chip exist.

    The Medeli clone DSG-MC-3 may slightly differ from the actual Yamaha YM2163. In my Letron MC-3 pulling the TEST pin 16 to GND turns the currently played notes into a static toot (often at different pitch) and sometimes drumrolls the last played percussion sound (envelope decays normal). So long TEST is low, the instrument does not sense key presses. Most interesting is that waveforms can change into non-standard shapes. On the oscilloscope particularly the chord voice turns from an irregular into a repetitive pattern, which looks like a short sample loop of it. Likely the IC outputs non-percussion channels into a ringbuffer, which contents isn't overwritten anymore and so repeats in a loop. The YM2163 in the Testron behaves less spectacular and mostly stops notes when TEST is pulled low. This may indicate hardware differences in both sound ICs, but may also be result of the timer IRQ output that in Testron outputs low pulses at about 7.4ms to the CPU. With TEST low, it outputs a much higher frequency that temporary stops its CPU. (Pulling IRQ to GND even completely locks it up.) The different CPU of MC-3 does not use the IRQ pin. Pin 7 is high resistance and seems internally not connected.

    Another DSG clone (not examined) is the "CW-3163" found in Elta KE-4 and the ridiculous Talu LS-18; Traktor told me that a Chinese book "Amateur Circuit - 1200 Tricks" from 1996 mentions that it was made in Hong Kong by Jiahua electronic production as a cheap direct substitute for YM2163. The Penrod AJ-430 apparently has a DSG clone integrated into its single chip CPU CIL-51; its bizarre envelope behaviour at too high supply voltage may hint what the envelope generator in the original DSG is made from (VCA + envelope capacitor fed with PWM?).

    In the realm of Casio keyboards the most comparable sound generator was the D910G of Casio VL-5; while waveforms and blip percussion differ, the capabilities are quite similar. A more widespread but slightly higher grade Casio sound IC (8 note polyphonic, bipolar multipulse squarewave, more realistic percussion) was HD43720 (used e.g. in MT-200 and MT-36).

     
    The demo is a medley of 3 melodies:
    1. ? [short disco intro?]
    2. Rondo Al Turka (Mozart)
    3. Carmen opera theme
    It is a polyphonic arrangement that switches among many preset sounds. Especially the Carmen opera theme is nicely made in tango style.

    A simpler midsize keyboard by Video Technology was the Rhythmic 2.
     

     removal of these screws voids warranty...    
    WarrantyVoid
    back to tablehooters collection
     
     
    back